15-Apr-2025  Düsseldorf / Germany

Customized solution for more production automation in aircraft construction

Precise dosing for safety-relevant components with the new Sonderhoff DM80 Static Mix dosing machine

The aviation industry is facing a major upheaval. In addition to new solutions for decarbonization and innovations for digitalization, manufacturers and suppliers are increasingly working on automation in aircraft production.

Until now, many production steps in aircraft construction have been carried out manually.  Manufacturers are pushing ahead with increasing automation, particularly for reasons of efficiency. By using robots and machines, production processes can be carried out faster, more precisely and with lower error rates. This leads to shorter throughput times, reduced costs and an overall improvement in productivity.

Henkel is therefore working closely with its customers in the aviation industry to increase the level of automation in production. Aircraft manufacturers have particularly high demands when processing highly filled, abrasive and highly viscous structural adhesives used in aircraft construction. The adhesives must be mixed and dosed precisely to achieve perfect quality and, above all, to ensure that the safety-relevant requirements are met. 

A team of developers at the Henkel site in Dornbirn has therefore developed the new Sonderhoff DM80 Static Mix, which has already been presented to various aircraft manufacturers and suppliers. The DM80 Static Mix is a mobile precision mixing and dosing machine for the processing and dosing of highly filled, abrasive and highly viscous Loctite 2K Aero materials (Loctite 2K epoxy systems) for the structural bonding of components and is used for safety-relevant applications, e.g. in aircraft construction for the liquid shim process for the manufacture of aircraft wings and tail units. The DM80 Static Mix, with its modular design, will enable the previously manual material processing to be converted into semi-automatic and fully automatic processes.   

The 2K precision mixing head is designed for static mixing of discharge quantities from 1.0 to 2.5 g/s, although other discharge quantities can also be configured. The mixing ratios are infinitely variable from 10:1 to 1:10, but this depends on the materials used. A precision scale is integrated for calibrating the individual components and checking the dosing quantity. 

A safety ram press for 25 kg containers with two-hand operation and ventilation functions is used for material preparation and conveying. Optionally, the A-component can be tempered with an electric hose heater. The material is conveyed via precision eccentric screw pumps (in sizes of 1.8 or 8.2 ccm/rev) with servo drives and automatic pressure control.

Operation is via a 15.6” touchscreen and is supported by interactive, menu-guided calibration and dosing processes. A further feature is processing data logging, which stores material pressures, pump torques, weighing data, correction factors and alarm data.

The DM80 Static Mix can be used as a mobile stand-alone system to save space in production. All machine components are housed on a mobile chassis. The easy accessibility of the machine enables quick and simple servicing and maintenance work to be carried out. 

With the new Sonderhoff DM80 Static Mix, aircraft manufacturers and their suppliers can reduce material consumption, realize shorter production times and increase the quality, consistency and reliability of mixing and dosing. 

The dispensing system will be exhibited for the first time at the International Paris Air Show from June 16 to 22, 2025 in Hall 4 at Henkel's booth B-42.

The Sonderhoff DM80 Static Mix dispensing machine – the mobile workstation for processing and dispensing of highly filled, abrasive and highly viscous Loctite 2K epoxy structural adhesives.

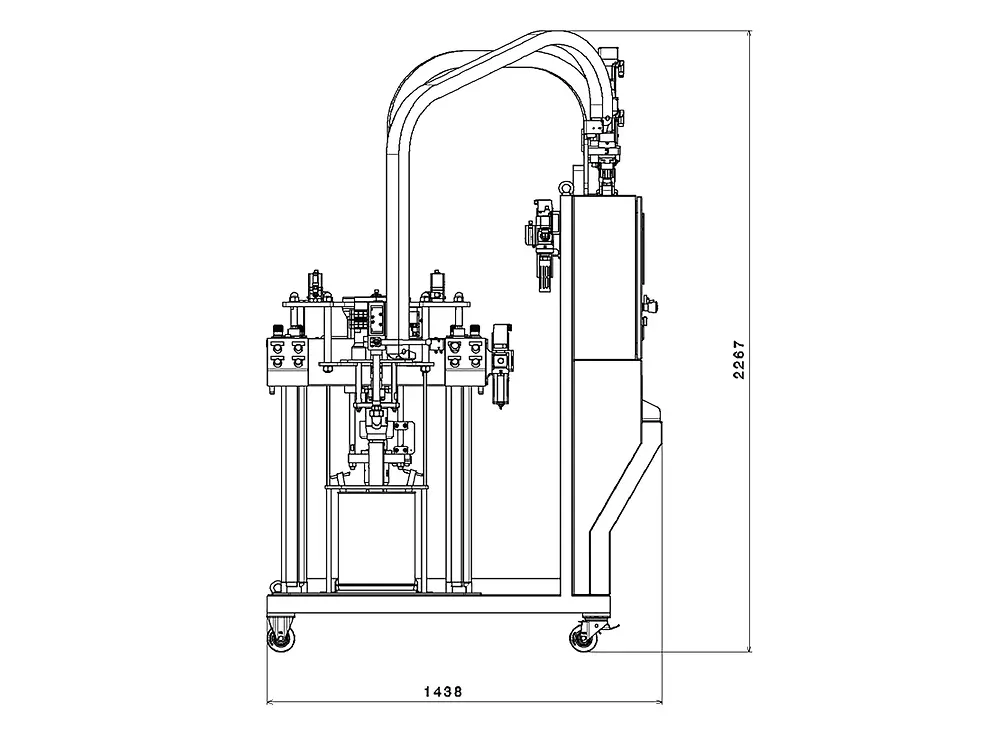
The Sonderhoff DM80 Static Mix dispensing machine in front and side view, with the dimensions (W/D/H) 1200 x 1438 x 2267 mm.

The Sonderhoff DM80 Static Mix dispensing machine in front and side view, with the dimensions (W/D/H) 1200 x 1438 x 2267 mm.

The Sonderhoff DM80 Static Mix dispensing machine – compact, mobile, reliable and easy to operate – with safety ram press for material feed of 20-liter containers and functions for automatic aeration and ventilation.
 

The Sonderhoff DM80 Static Mix dispensing machine with mixing head and integrated precision scales for permanent check weighing during calibration and dosing.

Sebastian Hinz Adhesive Technologies Media Relations Headquarters, Düsseldorf/Germany +49-211-797-8594 press@henkel.com Download Business Card Add to my collection